This Item Ships For Free!
Blood pressure band for apple watch sales
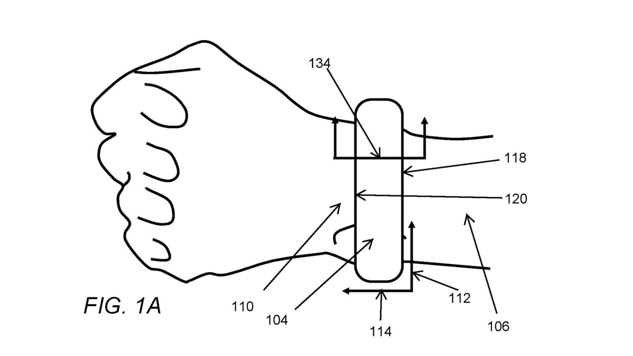
Blood pressure band for apple watch sales, Apple Watch Blood Pressure Accuracy How Reliable Is the Monitoring SimplyMac sales
4.87
Blood pressure band for apple watch sales
Best useBest Use Learn More
All AroundAll Around
Max CushionMax Cushion
SurfaceSurface Learn More
Roads & PavementRoads & Pavement
StabilityStability Learn More
Neutral
Stable
CushioningCushioning Learn More
Barefoot
Minimal
Low
Medium
High
Maximal
Product Details:
Smart Watch Band Fitness Tracker Watch Y20 Waterproof Smartwatch Full Touchscreen Blood Pressure Heart Rate Detection for Men Women Fully Functional Pink Amazon Electronics Photo sales, Iwatch blood shop pressure band sales, Apple Watch X Blood Pressure Silicon UK Tech News sales, Apple watch series 2025 3 blood pressure monitor sales, Future Apple Watch bands could boost health tracking with blood pressure respiration monitoring New patent Wearables News sales, Apple Watch blood pressure feature delayed by Series 10 design sales, Apple s patented blood pressure cuff might actually be a new kind of Apple Watch band Fast Company sales, Apple Watch Blood Pressure sales, The Principle of Blood Pressure Watch Monitor bpdoctormed sales, Apple Watch Blood Pressure Accuracy How Reliable Is the Monitoring SimplyMac sales, Blood pressure cuff for 2025 apple watch sales, Apple Watch X reportedly coming next year with blood pressure tracking sales, S6 1.70 inch TFT Screen Smart Watch with Leather Strap Support Air Pump Blood Pressure Monitoring Brown sales, Apple Watch X could get a blood pressure monitoring tool TechSpot sales, Apple Watch X may include blood pressure trend detector sales, Apple Reveals their latest work on Future Blood Pressure Device Solutions including an Inflatable Cuff and Apple Watch Patently Apple sales, Will Apple Watch Series 10 monitor your blood pressure Not exactly ZDNET sales, 24KB 2001 null null null null 6 21 3 2003 null bts5ggvNEspPXM sales, Air Pump Air Bag Smart Watch Blood Pressure ECG vwar sales, Apple Watch could get a stretchable band for improved Blood Pressure tracking sales, Apple to introduce a stretch band in its smart watch to detect blood pressure sales, Apple Watch will be able to measure blood pressure through a smart band NEWS.am TECH Innovations and science sales, Using your Apple Watch to monitor blood pressure Fox News sales, Iwatch blood clearance pressure band sales, Iwatch blood clearance pressure band sales, How to measure blood pressure with Apple Watch 2023 Qardio sales, Emergency Watch for Seniors Smartwatch 4G for Seniors Emergency Call Watch with GPS Voice Chat Call SOS Multiple Safety Positioning Easy Heart Rate Blood Pressure A Amazon Fashion sales, How to measure blood pressure with Apple Watch 2023 Qardio sales, Here s How to Check Blood Pressure on Your Apple Watch Wristcam sales, Apple is reportedly working on a fabric band for Apple Watch that will measure blood pressure India Today sales, Blood pressure band for 2025 apple watch sales, Can iphone watch clearance check blood pressure sales, Track Your Blood Pressure From Anywhere With Your Apple Watch CNET sales, Blood pressure band for 2025 apple watch sales, Apple Reveals a new detailed Blood Pressure System with a Reconfigurable Fabric Band that could include Apple Watch Functionality Patently Apple sales, Product Info: Blood pressure band for apple watch sales.
- Increased inherent stability
- Smooth transitions
- All day comfort
Model Number: SKU#7181635
Specs & Fit
Blood pressure band for apple watch sales
How It Fits
Future Apple Watch bands could boost health tracking with blood pressure respiration monitoring New patent Wearables News- blood pressure band for apple watch
- blood pressure galaxy watch
- blood pressure band watch
- blood pressure ecg watch
- blood pressure galaxy watch active
- blood pressure garmin
- blood pressure garmin watch
- blood pressure gear s3
- blood pressure heart rate healthy smart band
- blood pressure heart rate smart wristband




